河北福瑞达燃气调压器有限公司
远程测控系统 登录
 
电 话:
0318-8234978
0318-8227768(总机)
联系人:
李广福
电 话:
13903188756
传 真:
0318-8234968
地 址:
河北省枣强县富强北路333号
邮 箱:
ranqitiaoyaqi@126.com
网 址:
www.frdtyq.com
 
家用管道燃气自闭阀
   
家用管道燃气自闭阀
作者:admin 发布日期:2023-07-14 15:30:39点击:908
家用管道燃气自闭阀

一、技术参数:

执行标准:CJ/T 447-2014
使用介质:天然气
额定工作压力:2 Kpa
额定工作流量:0.9m³/ h 、2.0m³/ h 具体见铭牌
超压保护压力:8.0 Kpa ±2.0 Kpa
低压保护压力:0.8 Kpa ±0.2 Kpa
响应时间:<3s
关闭方式:自动
开阀方式:手动开启
使用寿命:10年
密封性:进口压力15Kpa无泄漏
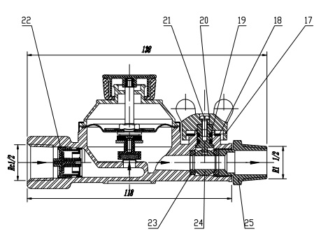
连接方式:入口G1/2(DN15)螺纹连接。出口φ9.5胶管接头连接或G1/2(DN15)螺纹连接。
执行标准:本产品执行中华人民共和国住房和城x乡建设部CJ/T447-2014标准
二、安装示意图:

三、安装要求:
1、阀门安装单位应具备相应资质。
2、阀门应安装在燃气表后,灶具前。
3、应按阀体标明的气流方向安装,允许水平和垂直安装。
4、管道吹扫时,建议将自闭阀隔离,以免管内杂物损坏阀门密封材料。
5、在进行试压检测密封性能前,应先使自闭阀处于开阀状态,试压压力不能大于阀门的最大进口压力。

上一个产品:家用管道燃气自闭阀
下一个产品:收发球筒
 
 

手机站二维码

微信二维码扫描
 
版权所有 2016 河北福瑞达燃气调压器有限公司 地址:河北省枣强县富强北路333号 冀ICP备09037769号
电话:0318-8234978 8227768(总机) 传真:0318-8234968 邮箱:ranqitiaoyaqi@126.com
关键词:燃气调压器 燃气调压柜 燃气过滤器 燃气高压设备
河北福瑞达燃气调压器有限公司一直致力于燃气调压器的设计、开发制造,是集研发、生产、营销及售后服务于一体的专业性制造企业。